МЫ СВЯЖЕМСЯ С ВАМИ
СОВРЕМЕННЫЕ ТЕХНОЛОГИИ ПРОИЗВОДСТВА
ЖЕСТКИЕ КРИТЕРИИ ОТБОРА СЫРЬЯ
КВАЛИФИЦИРОВАННЫЕ РАБОЧИЕ
+7 (967) 555-23-92
Обратный звонокФундаменты на основе свайных конструкций со стальными балками имеют многоцелевое назначение. Новая серия 3.407.9-146 сейчас пришла на смену созданных ещё во времена СССР изделий серий 3.407-115 и 407-0-125. Они учитывают практический опыт советских времён, но в своей основе используют усовершенствованные материалы.
| Эскиз | Шифр фундамента | Основные размеры | состав фундамента | Вес, кг | Тип свай | ||
| А, мм | В, мм | С, мм | |||||
| Односвайные фундаменты под свободностоящие промежуточные опоры | |||||||
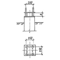
![]() |
Ф1.35-2 | — | 100 | — | Наголовник М42 -1 шт | 29,7 | СН35, С35 |
| Ф1.42-2 | — | 100 | — | Наголовник М42 -1 шт | 29,7 | ЦС42 | |
| Ф1.56-2 | — | 100 | — | Наголовник М42 -1 шт | 29,7 | ЦС56 | |
| Односвайные фундаменты под тяжелые промежуточные и анкерно-угловые опоры | |||||||
![]() |
Ф1.35-4 | — | 100 | — | Наголовник М43 -1 шт | 39,1 | СН35, С35 |
| Ф1.42-4 | — | 100 | — | Наголовник М43 -1 шт | 39,1 | ЦС42 | |
| Ф1.56-4 | — | 100 | — | Наголовник М43 -1 шт | 39,1 | ЦС56 | |
| Односвайные фундаменты под стойки опор с оттяжками | |||||||
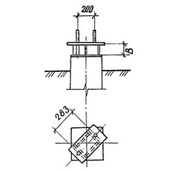
![]() |
Ф1.35-1 | — | — | — | Опорная плита ПО1 -1 шт | 21 | СН35, С35 |
| Ф1.42-1 | — | — | — | Опорная плита ПО1 -1 шт | 21 | ЦС42 | |
| Ф1.56-1 | — | — | — | Опорная плита ПО1 -1 шт | 21 | ЦС56 | |
| Односвайные фундаменты для закрепления оттяжек | |||||||
![]() |
Ф1.35-0 | — | — | — | Скоба М45 -1 шт | 27,3 | СН35, С35 |
| Ф1.42-0 | — | — | — | Скоба М46 -1 шт | 37,8 | ЦС42 | |
| Ф1.56-0 | — | — | — | Скоба М44 -1 шт | 60,9 | ЦС56 | |
| Эскиз | Шифр фундамента | Основные размеры | состав фундамента | Вес, кг | Тип свай | ||
| А, мм | В, мм | С, мм | |||||
| Двухсвайные фундаменты под свободностоящие промежуточные опоры | |||||||
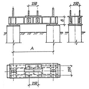
![]() |
Ф2.35-2-16 | 1100 | 160 | — | Подкладка М47 -2 шт, Балка Б35-2-16 -1 шт | 91,6 | СН35, С35 |
| Ф2.35-2-20 | 1100 | 200 | — | Подкладка М48 -2 шт, Балка Б35-2-20 -1 шт | 120,6 | СН35, С35 | |
| Ф2.35-2-24 | 1100 | 240 | — | Подкладка М49 -2 шт, Балка Б35-2-24 -1 шт | 156,1 | СН35, С35 | |
| Ф2.42-2-16 | 1100 | 160 | — | Подкладка М47 -2 шт, Балка Б35-2-16 -1 шт | 91,6 | ЦС42 | |
| Ф2.42-2-20 | 1100 | 200 | — | Подкладка М48 -2 шт, Балка Б35-2-20 -1 шт | 120,6 | ЦС42 | |
| Ф2.42-2-24 | 1100 | 240 | — | Подкладка М49 -2 шт, Балка Б35-2-24 -1 шт | 156,1 | ЦС42 | |
| Ф2.56-2-24 | 1700 | 240 | — | Подкладка М50 -2 шт, Балка Б56-2-24 -1 шт | 190,8 | ЦС56 | |
| Ф2.56-2-30 | 1700 | 300 | — | Подкладка М52 -2 шт, Балка Б56-2-30 -1 шт | 257,1 | ЦС56 | |
| Двухсвайные фундаменты под тяжелые промежуточные и анкерно-угловые опоры | |||||||
![]() |
Ф2.35-4-20 | 1100 | 200 | — | Подкладка М49 -2 шт, Балка Б35-4-20 -1 шт | 193,3 | СН35, С35 |
| Ф2.35-4-24 | 1100 | 240 | — | Подкладка М49 -2 шт, Балка Б35-4-24 -1 шт | 232,9 | СН35, С35 | |
| Ф2.42-4-20 | 1100 | 200 | — | Подкладка М49 -2 шт, Балка Б35-4-20 -1 шт | 193,3 | ЦС42 | |
| Ф2.42-4-24 | 1100 | 240 | — | Подкладка М49 -2 шт, Балка Б35-4-24 -1 шт | 232,9 | ЦС42 | |
| Ф2.56-4-20 | 1700 | 200 | — | Подкладка М50 -2 шт, Балка Б56-4-20 -1 шт | 253,4 | ЦС56 | |
| Ф2.56-4-24 | 1700 | 240 | — | Подкладка М50 -2 шт, Балка Б56-4-24 -1 шт | 305,4 | ЦС56 | |
| Двухсвайные фундаменты под стойки опор с оттяжками | |||||||
![]() |
Ф2.35-1-24 | 1100 | 240 | — | Подкладка М49 -2 шт, Балка Б35-1-24 -1 шт, Опорная плита ПО1 -1 шт | 164,9 | СН35, С35 |
| Ф2.42-1-24 | 1100 | 240 | — | Подкладка М49 -2 шт, Балка Б35-1-24 -1 шт, Опорная плита ПО1 -1 шт | 164,9 | ЦС42 | |
| Ф2.56-1-30 | 1700 | 300 | — | Подкладка М52 -2 шт, Балка Б56-1-30 -1 шт, Опорная плита ПО1 -1 шт | 268,7 | ЦС56 | |
| Ф2.35-1-30 | 1100 | 300 | — | Подкладка М51 -2 шт, Балка Б35-1-30 -1 шт, Опорная плита ПО1 -1 шт | 206,2 | СН35, С35 | |
| Ф2.42-1-30 | 1100 | 300 | — | Подкладка М51 -2 шт, Балка Б35-1-30 -1 шт, Опорная плита ПО1 -1 шт | 206,2 | ЦС42 | |
| Ф2.56-1-40 | 1700 | 400 | — | Подкладка М54 -2 шт, Балка Б56-1-40 -1 шт, Опорная плита ПО1 -1 шт | 376,1 | ЦС56 | |
![]() |
Ф2.35-1/5-24 | 1100 | 240 | — | Подкладка М49 -2 шт, Балка Б35-1/5-24 -1 шт, Опорная плита ПО1 -1 шт | 169,2 | СН35, С35 |
| Ф2.42-1/5-24 | 1100 | 240 | — | Подкладка М49 -2 шт, Балка Б35-1/5-24 -1 шт, Опорная плита ПО1 -1 шт | 169,2 | ЦС42 | |
| Ф2.56-1/5-30 | 1700 | 300 | — | Подкладка М52 -2 шт, Балка Б56-1/5-30 -1 шт, Опорная плита ПО1 -1 шт | 278,8 | ЦС56 | |
| Ф2.35-1/5-30 | 1100 | 300 | — | Подкладка М51 -2 шт, Балка Б35-1/5-30 -1 шт, Опорная плита ПО1 -1 шт | 218,2 | СН35, С35 | |
| Ф2.42-1/5-30 | 1100 | 300 | — | Подкладка М51 -2 шт, Балка Б35-1/5-30 -1 шт, Опорная плита ПО1 -1 шт | 218,2 | ЦС42 | |
| Ф2.56-1/5-40 | 1700 | 400 | — | Подкладка М54 -2 шт, Балка Б35-1/5-40 -1 шт, Опорная плита ПО1 -1 шт | 389,9 | ЦС56 | |
| Ф2.35-1/10-24 | 1100 | 240 | — | Подкладка М49 -2 шт, Балка Б35-1/10-24 -1 шт, Опорная плита ПО1 -1 шт | 168,4 | СН35, С35 | |
| Ф2.42-1/10-24 | 1100 | 240 | — | Подкладка М49 -2 шт, Балка Б35-1/10-24 -1 шт, Опорная плита ПО1 -1 шт | 168,4 | ЦС42 | |
| Ф2.56-1/10-30 | 1700 | 300 | — | Подкладка М52 -2 шт, Балка Б56-1/10-30 -1 шт, Опорная плита ПО1 -1 шт | 278,4 | ЦС56 | |
| Ф2.35-1/10-30 | 1100 | 300 | — | Подкладка М51 -2 шт, Балка Б35-1/10-30 -1 шт, Опорная плита ПО1 -1 шт | 217,8 | СН35, С35 | |
| Ф2.42-1/10-30 | 1100 | 300 | — | Подкладка М51 -2 шт, Балка Б35-1/10-30 -1 шт, Опорная плита ПО1 -1 шт | 217,8 | ЦС42 | |
| Ф2.56-1/10-40 | 1700 | 400 | — | Подкладка М54 -2 шт, Балка Б56-1/10-40 -1 шт, Опорная плита ПО1 -1 шт | 389,6 | ЦС56 | |
| Двухсвайные фундаменты для закрепления оттяжек | |||||||
![]() |
Ф2.35-0-20 | 1100 | 200 | — | Подкладка М51 -2 шт, Балка Б35-0-20 -1 шт | 143,6 | СН35, С35 |
| Ф2.35-0-30 | 1100 | 300 | — | Подкладка М53 -2 шт, Балка Б35-0-30 -1 шт | 234,2 | СН35, С35 | |
| Ф2.42-0-20 | 1100 | 200 | — | Подкладка М51 -2 шт, Балка Б35-0-20 -1 шт | 143,6 | ЦС42 | |
| Ф2.42-0-30 | 1100 | 300 | — | Подкладка М53 -2 шт, Балка Б35-0-30 -1 шт | 234,2 | ЦС42 | |
| Ф2.56-0-30 | 1700 | 300 | — | Подкладка М52 -2 шт, Балка Б56-0-30 -1 шт | 277,7 | ЦС56 | |
| Ф2.56-0-40 | 1700 | 400 | — | Подкладка М54 -2 шт, Балка Б56-0-40 -1 шт | 407,9 | ЦС56 | |
![]() |
Ф2.35-0-3 | 1100 | — | — | Скоба М45 -2 шт, Траверса Т35-3 -1 шт | 107,3 | СН35, С35 |
| Ф2.35-0-4 | 1100 | — | — | Скоба М45 -2 шт, Траверса Т35-4 -1 шт | 118,2 | СН35, С35 | |
| Ф2.42-0-3 | 1100 | — | — | Скоба М46 -2 шт, Траверса Т35-3 -1 шт | 128,3 | ЦС42 | |
| Ф2.42-0-4 | 1100 | — | — | Скоба М46 -2 шт, Траверса Т35-4 -1 шт | 139,2 | ЦС42 | |
| Ф2.56-0-4 | 1700 | — | — | Скоба М44 -2 шт, Траверса Т56-4 -1 шт | 201,3 | ЦС56 | |
| Эскиз | Шифр фундамента | Основные размеры | состав фундамента | Вес, кг | Тип свай | ||
| А, мм | В, мм | С, мм | |||||
| Четырехсвайные фундаменты под свободностоящие промежуточные опоры | |||||||
![]() |
Ф4.35-2-20/16 | 1100 | 200 | 160 | Подкладка М47 -4 шт, Балка Б35-2-20 -1 шт, Балка Б35-16 -2 шт | 297,8 | СН35, С35 |
| Ф4.35-2-24/20 | 1100 | 240 | 200 | Подкладка М48 -4 шт, Балка Б35-2-24 -1 шт, Балка Б35-20 -2 шт | 388,7 | СН35, С35 | |
| Ф4.42-2-20/16 | 1100 | 200 | 160 | Подкладка М47 -4 шт, Балка Б35-2-20 -1 шт, Балка Б35-16 -2 шт | 297,8 | ЦС42 | |
| Ф4.42-2-24/20 | 1100 | 240 | 200 | Подкладка М48 -4 шт, Балка Б35-2-24 -1 шт, Балка Б35-20 -2 шт | 388,7 | ЦС42 | |
| Ф4.56-2-24/20 | 1700 | 240 | 200 | Подкладка М50 -4 шт, Балка Б56-2-24 -1 шт, Балка Б56-20 -2 шт | 519,8 | ЦС56 | |
| Ф4.56-2-30/24 | 1700 | 300 | 240 | Подкладка М50 -4 шт, Балка Б56-2-30 -1 шт, Балка Б56-24 -2 шт | 684,1 | ЦС56 | |
| Четырехсвайные фундаменты под тяжелые промежуточные и анкерно-угловые опоры | |||||||
![]() |
Ф4.35-4-20/20 | 1100 | 200 | 200 | Подкладка М48 -4 шт, Балка Б35-4-20 -1 шт, Балка Б35-20 -2 шт | 425,9 | СН35, С35 |
| Ф4.35-4-24/20 | 1100 | 240 | 200 | Подкладка М48 -4 шт, Балка Б35-4-24 -1 шт, Балка Б35-20 -2 шт | 465,5 | СН35, С35 | |
| Ф4.35-4-30/24 | 1100 | 300 | 240 | Подкладка М48 -4 шт, Балка Б35-4-30 -1 шт, Балка Б35-24 -2 шт | 613,3 | СН35, С35 | |
| Ф4.42-4-20/20 | 1100 | 200 | 200 | Подкладка М48 -4 шт, Балка Б35-4-20 -1 шт, Балка Б35-20 -2 шт | 425,9 | ЦС42 | |
| Ф4.42-4-24/20 | 1100 | 240 | 200 | Подкладка М48 -4 шт, Балка Б35-4-24 -1 шт, Балка Б35-20 -2 шт | 465,5 | ЦС42 | |
| Ф4.42-4-30/24 | 1100 | 300 | 240 | Подкладка М49 -4 шт, Балка Б35-4-30 -1 шт, Балка Б35-24 -2 шт | 613,3 | ЦС42 | |
| Ф4.56-4-24/24 | 1700 | 240 | 240 | Подкладка М50 -4 шт, Балка Б56-4-24 -1 шт, Балка Б56-24 -2 шт | 737,4 | ЦС56 | |
| Ф4.56-4-30/30 | 1700 | 300 | 300 | Подкладка М52 -4 шт, Балка Б56-4-30 -1 шт, Балка Б56-30 -2 шт | 945,1 | ЦС56 | |
| Ф4.35-4-29С/24 | 1100 | 290 | 240 | Подкладка М49 -4 шт, Балка Б35-4-29с -1 шт, Балка Б35-24 -2 шт | 643,5 | СН35, С35 | |
| Ф4.42-4-29С/24 | 1100 | 290 | 240 | Подкладка М49 -4 шт, Балка Б35-4-29с -1 шт, Балка Б35-24 -2 шт | 643,5 | ЦС42 | |
| Ф4.56-4-39С/30 | 1700 | 390 | 300 | Подкладка М52 -4 шт, Балка Б56-4-39с -1 шт, Балка Б56-30 -2 шт | 1039,3 | ЦС56 | |
![]() |
Ф4.35-4т-30/24 | 1100 | 300 | 240 | Подкладка М49 -4 шт, Балка Б35-4т-30 -1 шт, Балка Б35-24 -2 шт | 626,6 | СН35, С35 |
| Ф4.35-4т-40/24 | 1100 | 400 | 240 | Подкладка М49 -4 шт, Балка Б35-4т-40 -1 шт, Балка Б35-24 -2 шт | 702,8 | СН35, С35 | |
| Ф4.42-4т-30/24 | 1100 | 300 | 240 | Подкладка М49 -4 шт, Балка Б35-4т-30 -1 шт, Балка Б35-24 -2 шт | 626,6 | ЦС42 | |
| Ф4.42-4т-40/24 | 1100 | 400 | 240 | Подкладка М49 -4 шт, Балка Б35-4т-40 -1 шт, Балка Б35-24 -2 шт | 702,8 | ЦС42 | |
| Ф4.56-4т-40/30 | 1700 | 400 | 300 | Подкладка М52 -4 шт, Балка Б56-4т-40 -1 шт, Балка Б56-30 -2 шт | 1054,3 | ЦС56 | |
| Ф4.56-4т-40У/30 | 1700 | 400 | 300 | Подкладка М52 -4 шт, Балка Б56-4т-40у -1 шт, Балка Б56-30 -2 шт | 1073,5 | ЦС56 | |
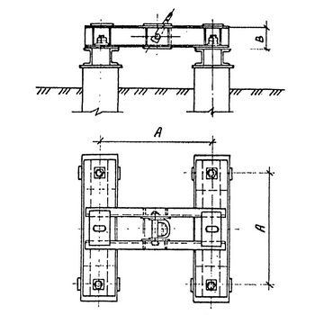
| Четырехсвайные фундаменты под стойки опор с оттяжками | |||||||
![]() |
Ф4.35-1-24/20 | 1100 | 240 | 200 | Подкладка М48 -4 шт, Балка Б35-1-24 -1 шт, Балка Б35-20 -2 шт, Опорная плита ПО1 -1 шт | 397,5 | СН35, С35 |
| Ф4.42-1-24/20 | 1100 | 240 | 200 | Подкладка М48 -4 шт, Балка Б35-1-24 -1 шт, Балка Б35-20 -2 шт, Опорная плита ПО1 -1 шт | 397,5 | ЦС42 | |
| Ф4.56-1-30/24 | 1700 | 300 | 240 | Подкладка М50 -4 шт, Балка Б56-1-30 -1 шт, Балка Б56-24 -2 шт, Опорная плита ПО1 -1 шт | 695,7 | ЦС56 | |
| Ф4.35-1-30/24 | 1100 | 300 | 240 | Подкладка М48 -4 шт, Балка Б35-1-30 -1 шт, Балка Б35-24 -2 шт, Опорная плита ПО1 -1 шт | 536,2 | СН35, С35 | |
| Ф4.42-1-30/24 | 1100 | 300 | 240 | Подкладка М48 -4 шт, Балка Б35-1-30 -1 шт, Балка Б35-24 -2 шт, Опорная плита ПО1 -1 шт | 536,2 | ЦС42 | |
| Ф4.56-1-40/30 | 1700 | 400 | 300 | Подкладка М52 -4 шт, Балка Б56-1-40 -1 шт, Балка Б56-30 -2 шт, Опорная плита ПО1 -1 шт | 949,3 | ЦС56 | |
![]() |
Ф4.35-1/5-24/20 | 1100 | 240 | 200 | Подкладка М48 -4 шт, Балка Б35-1/5-24 -1 шт, Балка Б35-20 -2 шт, Опорная плита ПО1 -1 шт | 401,8 | СН35, С35 |
| Ф4.42-1/5-24/20 | 1100 | 240 | 200 | Подкладка М48 -4 шт, Балка Б35-1/5-24 -1 шт, Балка Б35-20 -2 шт, Опорная плита ПО1 -1 шт | 401,8 | ЦС42 | |
| Ф4.56-1/5-30/24 | 1700 | 300 | 240 | Подкладка М50 -4 шт, Балка Б56-1/5-30 -1 шт, Балка Б56-24 -2 шт, Опорная плита ПО1 -1 шт | 705,8 | ЦС56 | |
| Ф4.35-1/5-30/24 | 1100 | 300 | 240 | Подкладка М49 -4 шт, Балка Б35-1/5-30 -1 шт, Балка Б35-24 -2 шт, Опорная плита ПО1 -1 шт | 548,2 | СН35, С35 | |
| Ф4.42-1/5-30/24 | 1100 | 300 | 240 | Подкладка М49 -4 шт, Балка Б35-1/5-30 -1 шт, Балка Б35-24 -2 шт, Опорная плита ПО1 -1 шт | 548,2 | ЦС42 | |
| Ф4.56-1/5-40/30 | 1700 | 400 | 300 | Подкладка М52 -4 шт, Балка Б35-1/5-40 -1 шт, Балка Б56-30 -2 шт, Опорная плита ПО1 -1 шт | 963,1 | ЦС56 | |
| Ф4.35-1/10-24/20 | 1100 | 240 | 200 | Подкладка М48 -4 шт, Балка Б35-1/10-24 -1 шт, Балка Б35-20 -2 шт, Опорная плита ПО1 -1 шт | 401 | СН35, С35 | |
| Ф4.42-1/10-24/20 | 1100 | 240 | 200 | Подкладка М48 -4 шт, Балка Б35-1/10-24 -1 шт, Балка Б35-20 -2 шт, Опорная плита ПО1 -1 шт | 401 | ЦС42 | |
| Ф4.56-1/10-30/24 | 1700 | 300 | 240 | Подкладка М50 -4 шт, Балка Б56-1/10-30 -1 шт, Балка Б56-24 -2 шт, Опорная плита ПО1 -1 шт | 705,2 | ЦС56 | |
| Ф4.35-1/10-30/24 | 1100 | 300 | 240 | Подкладка М49 -4 шт, Балка Б35-1/10-30 -1 шт, Балка Б35-24 -2 шт, Опорная плита ПО1 -1 шт | 547,8 | СН35, С35 | |
| Ф4.42-1/10-30/24 | 1100 | 300 | 240 | Подкладка М49 -4 шт, Балка Б35-1/10-30 -1 шт, Балка Б35-24 -2 шт, Опорная плита ПО1 -1 шт | 547,8 | ЦС42 | |
| Ф4.56-1/10-40/30 | 1700 | 400 | 300 | Подкладка М52 -4 шт, Балка Б56-1/10-40 -1 шт, Балка Б56-30 -2 шт, Опорная плита ПО1 -1 шт | 962,8 | ЦС56 | |
| Четырехсвайные фундаменты для закрепления оттяжек | |||||||
![]() |
Ф4.35-0-20/16 | 1100 | 200 | — | Подкладка М47 -4 шт, Балка Б35-0-20 -1 шт, Балка Б35-16 -2 шт | 315,8 | СН35, С35 |
| Ф4.35-0-30/20 | 1100 | 300 | — | Подкладка М48 -4 шт, Балка Б35-0-30 -1 шт, Балка Б35-20 -2 шт | 460,2 | СН35, С35 | |
| Ф4.42-0-20/16 | 1100 | 200 | — | Подкладка М47 -4 шт, Балка Б35-0-20 -1 шт, Балка Б35-16 -2 шт | 315,8 | ЦС42 | |
| Ф4.42-0-30/20 | 1100 | 300 | — | Подкладка М48 -4 шт, Балка Б35-0-30 -1 шт, Балка Б35-20 -2 шт | 460,2 | ЦС42 | |
| Ф4.56-0-30/24 | 1700 | 300 | — | Подкладка М50 -4 шт, Балка Б56-0-30 -1 шт, Балка Б56-24 -2 шт | 704,1 | ЦС56 | |
| Ф4.56-0-40/30 | 1700 | 400 | — | Подкладка М52 -4 шт, Балка Б56-0-40 -1 шт, Балка Б56-30 -2 шт | 981,1 | ЦС56 | |
![]() |
Ф4.35-0-3с/3 | 1100 | — | — | Скоба М45 -4 шт, Траверса Т35-3с -1 шт, Траверса Т35-3 -2 шт | 266 | СН35, С35 |
| Ф4.35-0-4с/3 | 1100 | — | — | Скоба М45 -4 шт, Траверса Т35-4с -1 шт, Траверса Т35-3 -2 шт | 278,1 | СН35, С35 | |
| Ф4.42-0-3с/3 | 1100 | — | — | Скоба М46 -4 шт, Траверса Т35-3с -1 шт, Траверса Т35-3 -2 шт | 308 | ЦС42 | |
| Ф4.42-0-4с/3 | 1100 | — | — | Скоба М46 -4 шт, Траверса Т35-4с -1 шт, Траверса Т35-3 -2 шт | 320,1 | ЦС42 | |
Завод металлоизделий «Рус-опора» осуществляет свою деятельность в этой сфере в течении длительного времени. Мы работаем, ориентируясь на Рязань и Рязания область, но постоянно развиваем географию своей деятельности. Нами учитывается опыт металлургических центров 20-го века и новейших технологий последнего времени.
| деталь ростверка | наименование | масса м/к, кг | деталь ростверка | наименование | масса м/к, кг | |
| Б35-2-16 | Балка | 77 | Б35-0-20 | Балка | 121 | |
| Б35-2-20 | Балка | 103 | Б35-0-30 | Балка | 208 | |
| Б35-2-24 | Балка | 136 | Б56-0-30 | Балка | 253 | |
| Б56-2-24 | Балка | 171 | Б56-0-40 | Балка | 380 | |
| Б56-2-30 | Балка | 232 | Б35-16 | Балка | 82 | |
| Б35-4-20 | Балка | 173 | Б35-20 | Балка | 109 | |
| Б35-4-24 | Балка | 213 | Б35-24 | Балка | 156 | |
| Б35-4-30 | Балка | 261 | Б56-20 | Балка | 154 | |
| Б35-4-29с | Балка | 291 | Б56-24 | Балка | 206 | |
| Б56-4-39с | Балка | 438 | Б56-30 | Балка | 276 | |
| Б35-4т-30 | Балка | 274 | Т35-3 | Траверса | 52 | |
| Б35-4т-40 | Балка | 350 | Т35-4 | Траверса | 64 | |
| Б56-4-20 | Балка | 233 | Т35-3с | Траверса | 51 | |
| Б56-4-24 | Балка | 285 | Т35-4с | Траверса | 63 | |
| Б56-4-30 | Балка | 344 | Т56-4 | Траверса | 79 | |
| Б56-4т-40 | Балка | 453 | ПО1, ПО2 | Опорная плита | 21 | |
| Б56-4т-40у | Балка | 472 | М42 | Наголовник | 30 | |
| Б35-1-24 | Балка | 124 | М43 | Наголовник | 39 | |
| Б35-1/10-24 | Балка | 127 | М44 | Скоба | 61 | |
| Б35-1-/5-24 | Балка | 128 | М45 | Скоба | 27 | |
| Б35-1-30 | Балка | 162 | М46 | Скоба | 38 | |
| Б35-1/10-30 | Балка | 174 | М47 | Подкладка | 8 | |
| Б35-1/5-30 | Балка | 175 | М48 | Подкладка | 9 | |
| Б56-1-30 | Балка | 223 | М49 | Подкладка | 10 | |
| Б56-1/10-30 | Балка | 232 | М50 | Подкладка | 10 | |
| Б35-1/5-30 | Балка | 233 | М51 | Подкладка | 11 | |
| Б56-1-40 | Балка | 327 | М52 | Подкладка | 13 | |
| Б56-1/10-40 | Балка | 340 | М53 | Подкладка | 13 | |
| Б35-1/5-40 | Балка | 341 | М54 | Подкладка | 14 | |
| М1 | Наголовник винтовой сваи | М56 | Шпилька крепления сваи |
Металлические балки для ростверков и фундаменты свайного типа, создаваемые нами, обладают уникальными характеристиками. Они могут различаться по ряду показателей:
Для определений типа металлоизделий, которые необходимы именно для вас, приведена специальная таблица. По ней вы можете определить конечную стоимость предлагаемой нами продукции с учётом накладных расходов.
Компания «Рус-опора» производит поставки металлоизделий любой конфигурации на территории Рязани и Рязанской области. Наш опыт позволяет производить транспортировку металлоизделий под любой заказ. При производстве нами используются специально подготовленные железобетонные и стальные конструкции. Их надёжность проверена при помощи центрифугирования и проведения вибрационных испытаний. В набор поставляемых нашей компанией балок металлических ростверков и фундаментов на свайной основе входят:
Все предлагаемые нами металлоконструкции могут быть изготовлены в различных вариантах, в том числе и для Крайнего Севера. В этом случае используются усиленные марки стали и дополнительное антикоррозийное покрытие. Для этого используется оцинковка или особое лакокрасочное защитное нанесение.









